
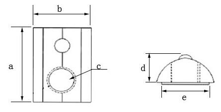
| 型材 规格 | 长度 a | 宽度 b | 厚度 d | 台阶宽度 e | |
| 20型材 | M3 | 12 | 8 | 4.8 | 6 |
| M4 | 12 | 8 | 4.8 | 6 | |
| M5 | 12 | 8 | 4.8 | 6 | |
| 30型材 | M4 | 21 | 13 | 7.8 | 8 |
| M5 | 21 | 13 | 7.8 | 8 | |
| M6 | 21 | 13 | 7.8 | 8 | |
| M8 | 21 | 13 | 7.8 | 8 | |
| 40型材 | M4 | 23 | 13.8 | 8.8 | 8 |
| M5 | 23 | 13.8 | 8.8 | 8 | |
| M6 | 23 | 13.8 | 8.8 | 8 | |
| M6 | 23 | 13.8 | 8.8 | 8 | |
| 45型材 | M4 | 23 | 16 | 9.8 | 10 |
| M5 | 23 | 16 | 9.8 | 10 | |
| M6 | 23 | 16 | 9.8 | 10 | |
| M6 | 23 | 16 | 9.8 | 10 | |
